其实,按苹果设想,他们将打造的iPhone不具备充点电接口,换句话讲,会摆脱有线困扰,而他们也在朝这个方面努力,最快明年会有效果拿出来。
据外媒最新报道称,苹果近日获得了一项技术专利,概述了一种具备双向无线充电功能的电池背夹。在苹果此前申请的专利中,就有计划推出一款完全没有端口的 iPhone 设备。而配合这项技术专利,能够让电池背夹配合没有端口的iPhone进行充电操作。
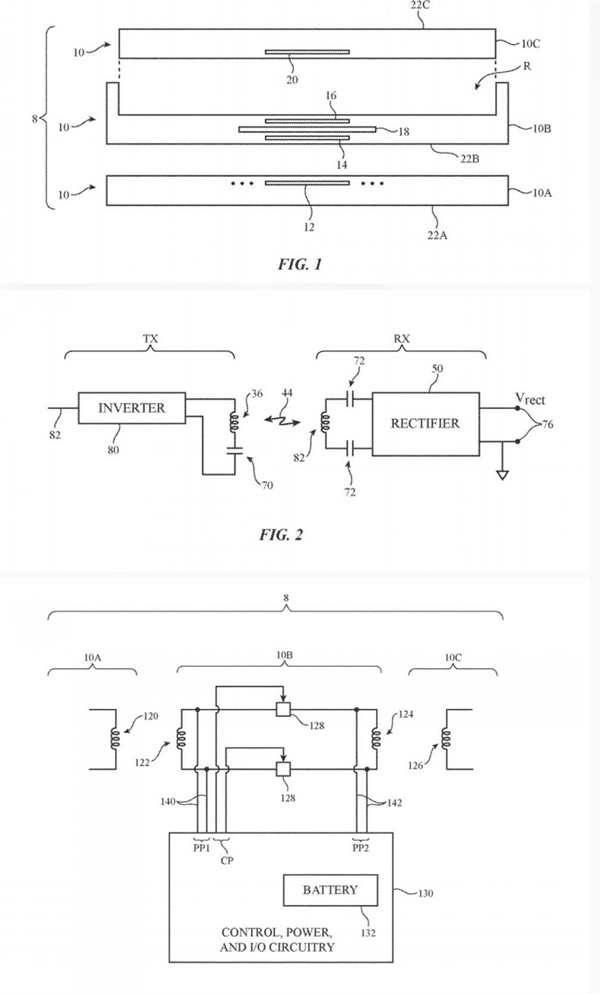
在专利概述中称该电池背夹具有第一和第二线圈,分别位于电池的相对两侧,并具有在第一和第二线圈之间耦合的开关电路。双线圈将使电池盒能够通过无线充电为自己充电,同时也为设备充电。
事实上,之前就曾有消息称,苹果计划在明年推出一款无端口iPhone,其没有任何物理连接器,因此该设备只能通过无线方式充电。
据悉,苹果还在开发AirPower。被取消的稀有苹果产品可能会在今年晚些时候首次亮相。按照苹果的计划,对AirPower的重新推进苹果推销无端口iPhone。




