猜测索尼PS5发布时间好像没什么把握,还不如把精力集中到新机功能特性上。
一份最新公开的索尼专利显示,PlayStation主机将加入AI助手,可对玩家进行游戏训练、通关教学等。
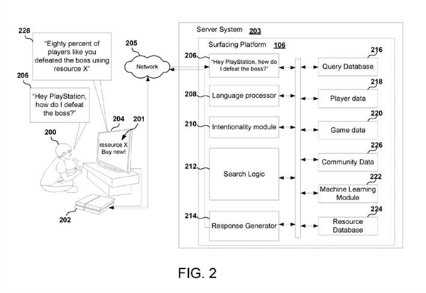
具体来说,专利名为"In-Game Resource Surfacing Platform(游戏内资源呈现平台)",它描述了在玩家需要帮助时,主机协调各种资源提供支持的方法。
从主图来看,玩家询问“你好,PlayStation,我该如何击败这个BOSS”,AI助手识别后经云处理反馈结果“80%的玩家使用资源X击败了BOSS”,显示屏上似乎还出现了购买“资源X”的选项。
不过,这种做法也引起争议,有评论任务性质和“外挂”无异。在专利中,索尼解释,新功能目的在于尽可能消除玩家寻求游戏通关攻略、技巧时的脱节和麻烦,也不希望玩家因为某些关卡而沮丧甚至放弃、退出游戏。
要说索尼这么做也能理解,等于给用户多种更便利的选择了。
目前,索尼先后推出月底的波士顿游戏展和3月的GDC游戏开发者大会,PS5外形揭晓时间或进一步推迟。另外,此前所谓PS日本官网出现“深V”形PS5主机图标,后经证实乃粉丝PS。




