索尼和微软高层前不久曾针对主机对VR支持发表截然不同的观点,荷兰LetsGoDigital挖出了索尼提交的新专利,似乎是下一代VR系统的新控制器。
Xbox Scarlett显然是没兴趣,但Play Station 5则不然。
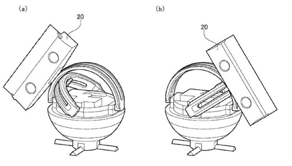
如图所示,该设备是带有立体摄像机的球形产品,配合头戴可允许双方在虚拟现实中相互连接和交互。
当一个用户戴着PSVR时,他会收到来自球形设备上的摄像机和麦克风的音频和视觉反馈。当你的头部转动时,另一端连接的球形装置可反馈你的动作。
早先传言PS VR2会随着PS5一起登场,毕竟PS VR一代在不被看好的情况下卖出了200万台。




